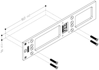
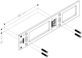
Монтажна панель дверного замикача * для TS 5000 та TS 4000 за схемою розташування отворів згідно зі стандартами DIN EN 1154 додаток 1
- За схемою розташування отворів згідно зі стандартом DIN EN 1154 додаток 1
Сфери застосування
- Монтаж корпуса замикача за схемою розташування отворі згідно зі стандартами DIN
Технічні характеристики продукту
| Монтажна панель дверного замикача | |
| Монтажна панель зі схемою розташування отворів згідно з вимогами EN 1154 | Так |
Завантаження
LABELLING OBLIGATION: © GEZE GmbH
LABELLING OBLIGATION: © GEZE GmbH
Варіанти та аксесуари
* Повідомлення про відображені продукти
Вказані вище продукти можуть відрізнятися за формою, типом, характеристиками та функціями (конструкція, розміри, доступність, дозволи, стандарти і т. д.) залежно від країни. З будь-яких питань звертайтесь до контактної особи GEZE або надішліть нам E-Mail .